全向麦操作文档
前言
联想全向麦 MC600!本设备采用蓝牙无线与 USB 有线双连接模式,支持多设备蓝牙级联扩展拾音范围,搭载新一代回声抵消与环境降噪算法,为电脑、手机、平板等终端的网络会议提供清晰自然的通话体验。机身轻便易携,操作简单直观,适用于小型会议室、居家办公等多种场景。
一、设备认知
(一)包装清单
1.全向麦克风主机 × 1;
2.USB-C数据线 × 1;
3.产品使用说明书 × 1;
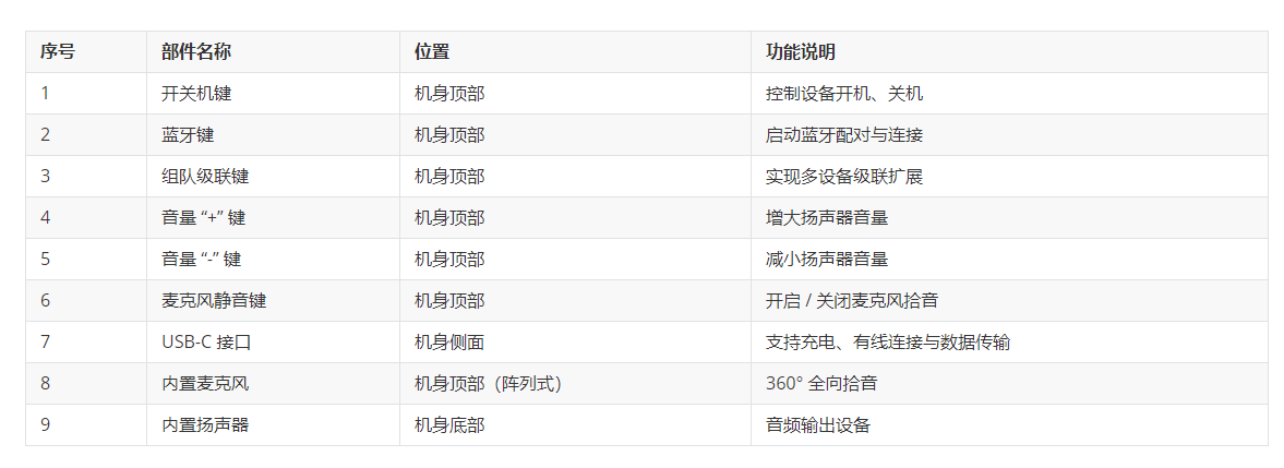
(二)按键与接口布局

指示灯说明
设备配备环形指示灯、蓝牙指示灯、充电指示灯及级联指示灯,不同状态对应明确的灯光信号:
- 环形指示灯
- 开机:绿灯逐渐亮起,伴随语音提示 “开机,等待蓝牙连接”
- 关机:绿灯逐渐熄灭,伴随语音提示 “关机”
- 电量低:每 5 分钟白灯闪烁 3 次,语音提示 “电量低,请充电”
- 音量最大:绿灯闪烁 3 次
- 音量最小(扬声器静音):绿灯闪烁 3 次后转为常亮
- 麦克风静音:红灯常亮
- 蓝牙指示灯
- 配对中:蓝灯闪烁
- 已连接:蓝灯常亮
- 充电指示灯
- 充电中:橙灯常亮
- 充满电:指示灯熄灭
- 级联指示灯
- 主设备:级联成功后白灯常亮
- 从设备:级联成功后白灯闪烁
二、基础操作指南
(一)开关机操作
- 开机:短按开关机键,环形指示灯绿灯渐亮,语音提示开机成功后进入待连接状态。
- 关机:长按开关机键 2 秒,环形指示灯绿灯渐灭,语音提示关机成功后设备停用。
- 自动关机:设备闲置 30 分钟后将自动关机,以节省电量。
(二)连接方式设置
1. USB 有线连接
- 适用场景:需稳定传输或设备充电的场景(如电脑会议)
- 操作步骤:
- 取出 USB-C 数据线,一端连接设备 USB-C 接口,另一端插入电脑 / 充电器 USB 接口;
- 电脑端自动安装驱动(Windows 2000 及以上、Mac OS X 系统均支持),无需手动设置;
- 连接成功后,设备自动切换为有线模式,可直接使用拾音与放音功能。
2. 蓝牙无线连接
- 适用场景:需摆脱线缆束缚的移动场景(如手机会议、平板办公)
- 操作步骤:
- 短按蓝牙键,设备发出提示音,蓝牙指示灯进入蓝灯闪烁的配对状态;
- 打开终端设备(手机 / 电脑 / 平板)的蓝牙功能,搜索 “Lenovo MC600” 设备;
- 选择设备完成配对(无需密码或输入默认密码 “0000”);
- 配对成功后,蓝牙指示灯转为蓝灯常亮,语音提示 “蓝牙已连接”。
(三)充电与电量管理
- 充电操作:通过 USB-C 数据线连接设备与 5V/2A 充电器(或电脑 USB 接口),充电时充电指示灯橙灯常亮,充满后指示灯自动熄灭。
- 续航说明:满电状态下可支持连续 6 小时会议通话,待机时长可达 120 小时。
- 低电提醒:当电量低于 20% 时,每 5 分钟触发白灯闪烁与语音提醒,需及时充电以避免突然关机。
三、核心会议功能操作
(一)音频调节
- 音量控制
- 增大音量:短按音量 “+” 键,每次按压音量提升 2 级,调至最大时环形指示灯绿灯闪烁 3 次。
- 减小音量:短按音量 “-” 键,每次按压音量降低 2 级,调至最小时环形指示灯绿灯闪烁 3 次后常亮,进入扬声器静音状态。
- 静音控制
- 麦克风静音:短按麦克风静音键,环形指示灯红灯常亮,设备停止拾音但可正常接收音频;再次短按取消静音,指示灯恢复正常。
- 扬声器静音:长按音量 “-” 键 3 秒,扬声器静音指示灯亮起(部分机型与环形指示灯联动),再次长按恢复输出。
(二)多设备级联扩展
当单设备无法满足大空间拾音需求时,可通过级联功能扩展覆盖范围(最多支持 4 台设备级联):
- 长按主设备组队级联键 3 秒,听到 “开始级联配对” 提示音,级联指示灯进入闪烁状态;
- 依次短按从设备组队级联键,听到 “级联成功” 提示音后,从设备级联指示灯转为闪烁;
- 级联完成后,主设备级联指示灯白灯常亮,所有设备共享拾音与放音功能,可统一通过主设备调节音量与静音状态。
(三)场景化应用操作
1. 电脑网络会议(TopSeek会议等)
- 准备工作:确保电脑安装会议软件,USB 接口为 2.0 及以上(避免使用 USB 集线器,以防信号不稳定);
- 连接方式:优先选择 USB 有线连接,确保音频设备默认设置为 “Lenovo MC600”;
- 会议操作:接通通话后,通过设备按键调节音量、控制静音,降噪算法自动过滤键盘敲击、空调噪音等环境杂音。
2.手机移动会议
- 连接方式:通过蓝牙配对连接手机,或使用专用音频线(需单独选购)连接设备与手机耳麦接口;
- 通话控制:接听电话后自动切换至设备音频,可通过静音键快速关闭拾音,结束通话后自动断开连接。
3.录音与音乐播放
- 录音功能:连接电脑后,打开系统录音软件(如 Windows “录音机”),选择设备为录音源,即可实现高清录音;
- 音乐播放:蓝牙连接手机 / 电脑后,可作为外接扬声器播放音乐,支持调节音量与暂停操作。
四、故障排查与维护
(一)常见问题解决

(二)日常维护与注意事项
- 物理防护:设备非防水设计,请勿接触液体;若不慎进水,立即断开连接并送至售后检测。
- 环境要求:避免放置于热源(如暖气片)、火源或强电磁环境(如微波炉旁),以防机身损坏或信号干扰。
- 连接规范:有线连接时直接连接电脑 USB 接口,避免通过集线器转接,确保供电稳定。
- 清洁保养:定期用干布擦拭机身,勿使用酒精、清洁剂等化学试剂,防止按键失灵。
- 固件更新:通过联想官网下载最新固件,连接电脑后按照提示完成更新,优化设备性能。
五、技术参数
(一)核心技术参数
- 拾音模式:360° 全向拾音,拾音距离≤3 米
- 扬声器功率:3W
- 频率响应:100Hz-20kHz
- 蓝牙版本:5.0,传输距离≤10 米
- 电池容量:1500mAh
- 充电时间:约 2.5 小时
- 工作温度:0℃-40℃